Dual Async Adapter
@EEFF.ADF - IBM Dual Async Adapter


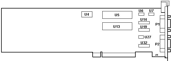
Dual Async Adapter 90X9229
P1, P2 DB9 Serial
U4 1.843200 MHz Osc
U5, U13 NS16550AFN
U6, 7, 27 TI SN75150P
U14, 19, 32 TI SN75154N

   Earlier versions use the NS16550ON chip.



AdapterId 0EEFFh IBM Dual Async Adapter

Connector x
   The IBM Dual Async Adapter can be set as Serial 1 through 8.
      <SERIAL 1  (io 03f8h-03ffh  int 4)>, SERIAL 2  (io 02f8h-02ffh  int 3), SERIAL 3  (io 3220h-3227h  int 3), SERIAL 4  (io 3228h-322fh  int 3), SERIAL 5  (io 4220h-4227h  int 3), SERIAL 6  (io 4228h-422fh  int 3), SERIAL 7  (io 5220h-5227h  int 3), SERIAL 8  (io 5228h-522fh  int 3)

9595 Main Page